时间:2024-09-09 08:02:40 点击数:
导读
针对多绳摩擦式提升机在运行过程中容易出现过卷、过放工况,造成钢丝绳应力瞬间集中引起断裂等问题,应用了一种应对特殊工况的防过卷?;ぷ爸?,并以 6×36WS+IWRC 钢丝绳为研究对象,采用有限元分析法建立了钢丝绳仿真模型并进行数值模拟。仿真结果表明:钢丝绳股内的应力分布不均匀;钢丝绳截面呈现出层状分布;绳股内侧为压,外侧为拉;对于同向捻钢丝绳,股内变形大于右交互捻钢丝绳;应力集中的部位发生在钢丝绳的弯曲位置点;钢丝绳的外层丝等效应力呈现出等幅波动。
随着矿山开采量和开采强度的不断增 大,井下机电设备的稳定运行对于保证产量和企业的效益至关重要。多绳摩擦式提升系统是井下常用的机电液一体化装备,主要由驱动装置、制动装置、多根钢丝绳及天轮等部分组成,是矿山领域的关键机电设备。钢丝绳是整个提升系统的承载构件,用于提升和下放罐笼并且承受载荷作用。在运行过程中,摩擦式提升机容易出现过卷故障,此时钢丝绳的受力比较复杂,容易造成钢丝绳内部断丝或突然断裂,引起煤矿提升事故。
为了保证提升系统的稳定运行,国内很多学者研究了提升机防过卷保护装置。贾福音等人通过对摩擦式提升机结构特点进行分析,设计了一种?;ぷ爸枚蕴嵘痰闹贫谢撼澹跎倭烁炙可艿降某寤髁?;但是,摩擦式提升机的过卷装置受外部的影响较大,没有分析钢丝绳的内部应力变化特性,无法得出钢丝绳在受到作用力时的应力分布规律。本研究基于矿井摩擦式提升机结构组成,应用了一种应对特殊工况的防过卷?;ぷ爸?,利用有限元分析软件 Pro/Engineer 建立了钢丝绳仿真模型,仿真钢丝绳内部应力,并得到了应力分布规律。
1 摩擦式提升机和过卷?;ぷ爸?/span>
1.1 多绳摩擦式提升机
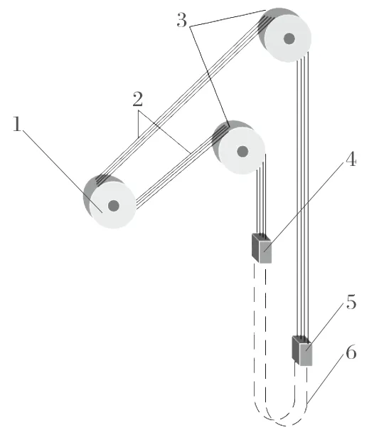
矿井多绳摩擦式提升机是我国矿井领域zui常用的提升装备,主要用于提升人员、设备和物料。该提升系统主要由驱动装置、多根钢丝绳、上下天轮及罐笼等部分组成,其结构如图1 所示。其中,驱动装置由电动机、减速机和联轴器等部分组成,可将电能转变为机械能,实现对罐笼的提升和下放;上下天轮用于对钢丝绳进行改向。提升钢丝绳在天轮位置会出现弯曲变形,钢丝绳的应力会出现突变。


凿井悬吊天轮是按JZ系列凿井绞车钢丝绳最大静张力分别为5t(50kN),10t(100kN),16t(160kN),25t(250kN),40t(400kN)进行配套设计的。
悬吊天轮又按凿井绞车的性能分为单槽天轮