600块两个小时服务,全国空降200元快餐联系方式,200元1小时做完付款快餐,3小时不限次数的快餐

Previous Next

单绳缠绕式提升机钢丝绳与天轮偏角调整方法研究(2)(图文)

时间:2024-07-10 07:53:56  点击数:


1 调整前钢丝绳和天轮内外偏角的测量
1.1 天轮内外偏角测定方案
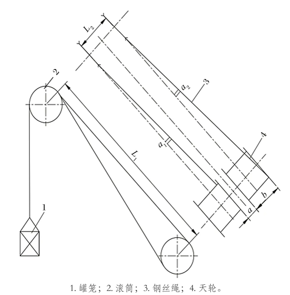
天轮内外偏角示意如图 1 所示,为了确定是否因钢丝绳内外偏角偏大导致的钢丝绳异常磨损,需要对提升机的内外偏角进行测量。由图 1 可知,α1 为天轮钢丝绳内偏角,α2 为天轮钢丝绳外偏角,当钢丝绳处于左右挡绳板附近时,钢丝绳与天轮的偏角达到zui大。

图1 钢丝绳与天轮轮缘偏角示意

由于该提升机卷筒中 心线、轴线已被破坏,天轮轴线无法直接测定,只能采取间接方法测定卷筒中 心线、轴线及天轮中 心线和轴线。

在机房内选择通视条件良好的位置架设全站仪,建立假定坐标系,取测站坐标 O(1000,1000,1000),在每个天轮绳槽中间测定 1 组数据 (每组 3 点),共测定 2 组;在卷筒挡绳板两侧内壁各测定 1 组数据 (每组 3 点),共 4 组。测量的数据如表 1 所列。表中,测点 1~ 3 为 1 号天轮实测坐标,4~ 9 为 1 号天轮对应坐标,10~ 12 为 2 号天轮实测坐标,13~ 18 为 2 号天轮对应坐标。
 
表1 测量数据汇总

1.2 计算钢丝绳内外偏角值
第 一步,将实测数据在 CAD 中进行三维建模处理,通过拟合成圆形并确定圆心的办法来求取卷筒中轴线和天轮中 心线及轴线。

第 二步,在 CAD 软件中经过计算,测得天轮的内外偏角结果如下:

1 号天轮的内偏角为 0°47′53″;1 号天轮的外偏角为 1°39′24″;2 号天轮的内偏角为 0°12′40″;2号天轮的外偏角为 2°15′08″。

根据《金属非金属矿山安全规程》第 6.4.4.12 条规定,1 号天轮外偏角和 2 号天轮外偏角都超过了规定的 1°30′,均需要进行调整。