时间:2024-03-30 08:22:41 点击数:
导读
天轮装置是落地式多绳提升机重要组成部分,是影响整个提升系统安全、稳定运行的关键部件。由于其使用工况恶劣,在使用过程中会出现许多问题,严重时影响矿井的生产运行。为降低天轮装置因故障整体更换带来的高额生产成本,笔者列举了天轮装置使用过程中的常见问题,并分析其原因,给出相应的修复方案,对类似天轮装置的返厂修复具有指导意义。
天轮装置是多绳摩擦式提升机的重要承力部件之一,其作用是支托提升机摩擦轮到提升容器之间的钢丝绳,用来改变钢丝绳的方向,即导向作用。近年来随着煤炭资源的整合,矿井设备更新换代,提升机的提升能力和规格也随之变大,如中信重工机械股份有限公司生产的 JKMD-6.2×4 型提升机,zui 大静张力为1700kN,zui 大静张力差为340 kN,1 组天轮装置约重 82t。特别对大规格的提升机来说,如因使用中出现问题而重新采购 1 组天轮装置,生产成本相当高。笔者结合以往天轮装置修复实际案例,列举了天轮装置使用过程中的常见故障,分析故障原因,并给出了相应的修复方案,降低了用户的生产成本,对类似天轮装置的返厂修复具有指导意义。
1 天轮装置结构分析
目前在用的多绳摩擦式提升机天轮装置结构有两种,普通天轮装置和新型天轮装置。
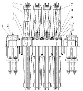
大部分天轮装置为普通天轮结构,主要由轴承座、两端轴承、天轮轴、游动轮、固定轮、轴瓦、衬垫和卡箍等组成,如图1所示。其中,左端轮子为固定轮,与天轮轴靠平键联接;右侧 3 个轮子为游动轮,游动轮与天轮轴之间有轴瓦,轴瓦与游动轮毂之间靠高强度螺栓联接;轴瓦内部有储油槽,通过润滑油脂来实现游动轮与天轮轴灵活转动。当每根钢绳的线速度不完全相同时,游动轮与天轮轴之间可自由地相对转动,防止钢丝绳与衬垫之间产生滑动摩擦,避免衬垫过度磨损,起到?;じ炙可淖饔谩ui 右侧游动轮的轴向定位通过安装在天轮轴环形槽内的两半卡箍实现,为了保证各游动轮之间的间隙合适 (一般为0.2~0.5 mm),卡箍的厚度根据安装实际情况进行单配。该结构的天轮装置应用较为广泛,技术成熟。

